Cerca per moto

  • Nuovo
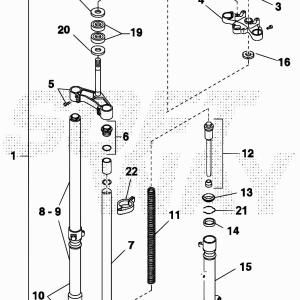
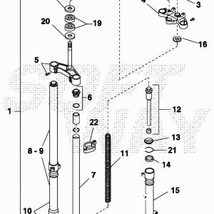
TESTATA FORCELLA .08118
BETA

TESTATA FORCELLA .08118

158,43 €
Tasse incluse

Prodotti originali
Team di esperti
Assistenza garantita

Dettagli del prodotto

29.50166.057
50 Articoli
Compatibile con:
Product added to wishlist