Cerca per moto

  • Nuovo
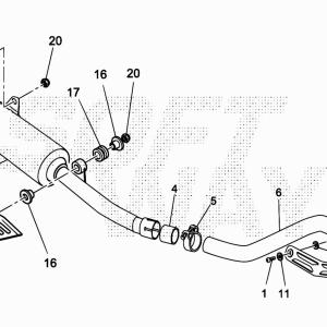
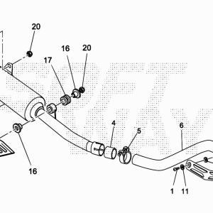
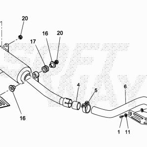
FASCETTA MARMITTA ALP4T / REV4T RACING
BETA

FASCETTA MARMITTA ALP4T / REV4T RACING

6,25 €
Tasse incluse

Prodotti originali
Team di esperti
Assistenza garantita

Dettagli del prodotto

15.14258.000
50 Articoli
Compatibile con:
Product added to wishlist