Cerca per moto

  • Nuovo
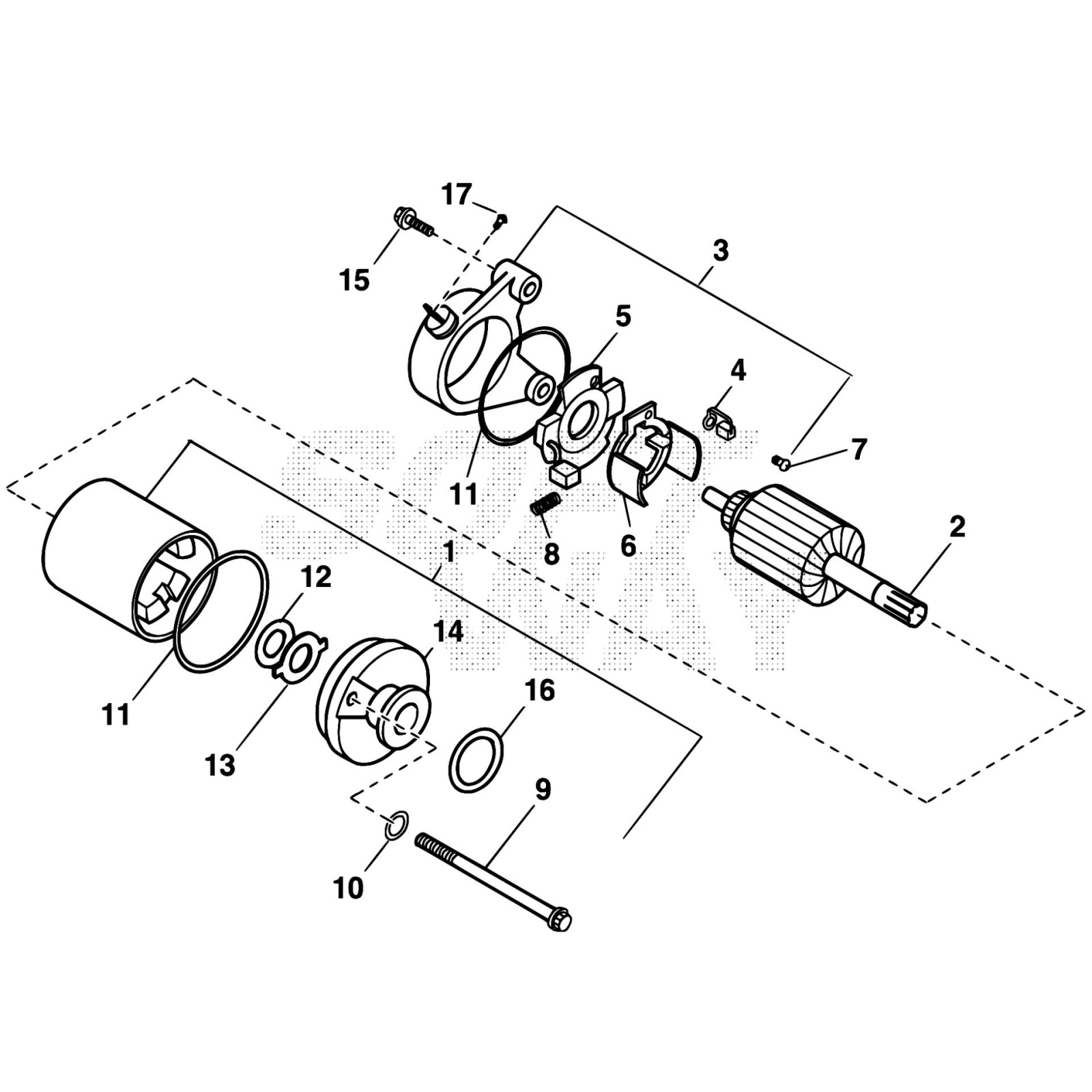
MOLLA (31135-32C10)
BETA

MOLLA (31135-32C10)

3,60 €
Tasse incluse

Prodotti originali
Team di esperti
Assistenza garantita

Dettagli del prodotto

35.12330.000
50 Articoli
Compatibile con:
Product added to wishlist