Carrello
Tavola
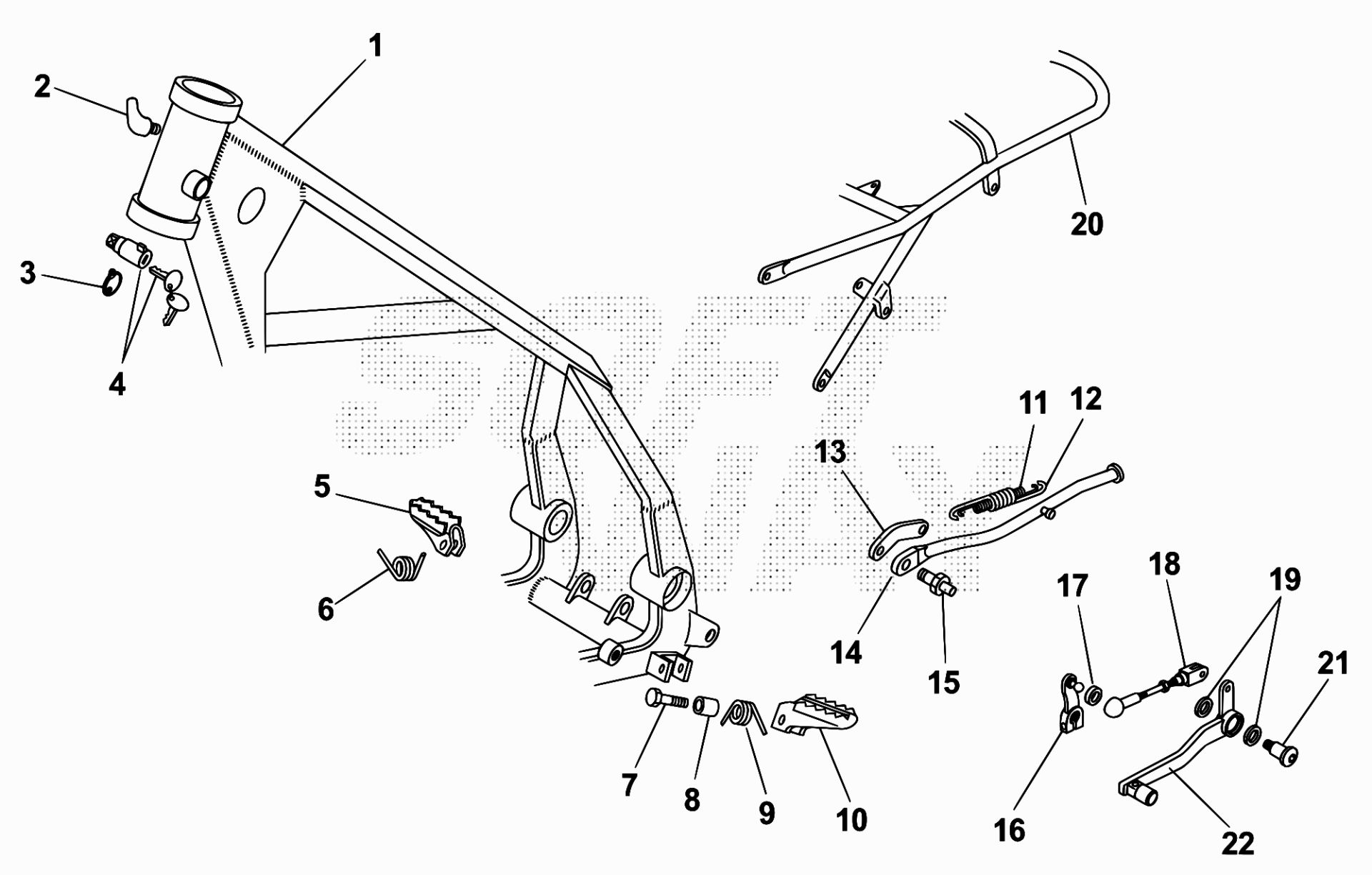
Telaio > Accessori Telaio
Valido per:
| Rif. | Codice | Nome | Prezzo | Qta necessaria | Azioni |
|---|---|---|---|---|---|
| 2 | 27.23470.000 | RACCORDO PER SFIATO RK6 / RR | 1,50 € | 1 | |
| 4 | 28.85861.000 | SERRATURA | 19,73 € | 1 | |
| 5 | 25.33001.000 | PEDANA P/PIEDI DX RR | 16,67 € | 1 | |
| 6 | 22.62010.000 | MOLLA PEDANA DX TRIAL ED ENDURO | 1,60 € | 1 | |
| 7 | 11.55700.000 | BULLONE 8.45 PF CH RS | 1,16 € | 1 | |
| 8 | 13.46530.000 | DISTANZIALE 8.12.17 | 1,54 € | 1 | |
| 9 | 22.62020.000 | MOLLA PEDANA SX TRIAL ED ENDURO | 1,60 € | 1 | |
| 10 | 25.33051.000 | PEDANA P/PIEDI SX RR | 16,67 € | 1 | |
| 11 | 22.47027.000 | MOLLA CAVALLETTO INTERNA RR | 2,03 € | 1 | |
| 12 | 22.47028.000 | MOLLA EST.PER CAVALLETTO LATERALE RR | 2,37 € | 1 | |
| 13 | 25.57634.000 | PIASTRINA MOLLE CAVALLETTO | 4,23 € | 1 | |
| 14 | 12.39962.066 | CAVALLETTO MOTARD -NICHELATO- | 38,06 € | 1 | |
| 15 | 11.70021.000 | BULLONE SPEC. CAVALLETTO RR | 3,97 € | 1 | |
| 17 | 25.98680.000 | PROTEZIONE SNODO SFERICO LEVA C.C.RR AM6 | 0,44 € | 1 | |
| 19 | 10.41190.000 | ANELLO PARAPOLVERE .21.3 | 2,18 € | 1 | |
| 21 | 11.64605.000 | BULLONE SPEC. PER LEVA COMANDOCAMBIO | 5,44 € | 1 |
Per visualizzare tutte le tavole, seleziona un modello