Carrello
Drawing
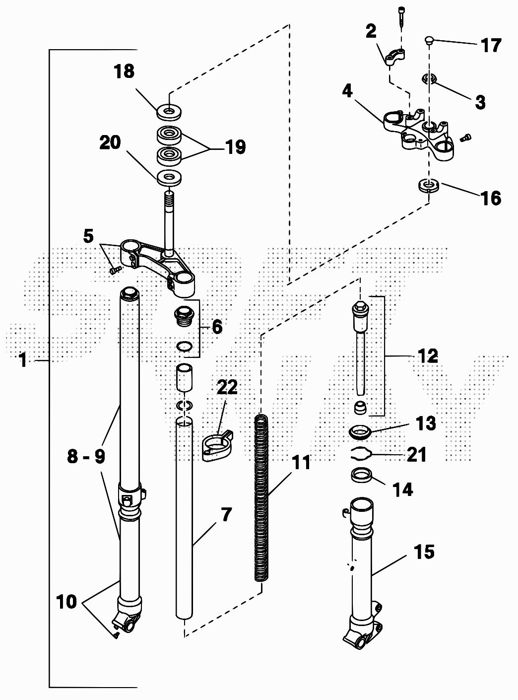
Telaio > Forcella
Valid for:
| Rif. | Sku | Name | Price | Qty needed | Action |
|---|---|---|---|---|---|
| 1 | 015.45.005.80.00 | KIT SOST. FORCELLA RR/MOTARD D.36 RSU | 987,10 € | 1 | |
| 2 | 12.08270.057 | CAVALLOTTO FORCELLA | 14,73 € | 1 | |
| 3 | 024.34.040.00.00 | DADO CANNOTTO | 12,71 € | 1 | |
| 6 | 29.01874.000 | TAPPO CON ANELLO FORCELLA .08113/4 | 27,47 € | 1 | |
| 12 | 12.32605.000 | CARTUCCIA IDRAULICA FORC. 1508119/22.059 | 45,43 € | 1 | |
| 14 | 10.41282.000 | ANELLO DI TENUTA FORCELLA .08113/4 | 12,16 € | 1 | |
| 17 | 29.01922.000 | TAPPO FORCELLA .08024 | 5,00 € | 1 | |
| 18 | 25.98781.000 | PROTEZIONE CUSCINETTO STERZO | 2,68 € | 1 | |
| 20 | 25.98751.000 | PROTEZIONE CUSCINETTO STERZO | 1,54 € | 1 | |
| 21 | 10.41478.000 | ANELLO FERMA PARAOLIO15.08028/9 | 0,96 € | 1 | |
| 22 | 15.14611.052 | FASCETTA TUBO FRENO ANT.RK6-50 | 11,18 € | 1 |
To see all drawing, select a model