Drawing
Telaio > Impianto Di Scarico

Valid for:
Rif. Sku Name Price Qty needed Action
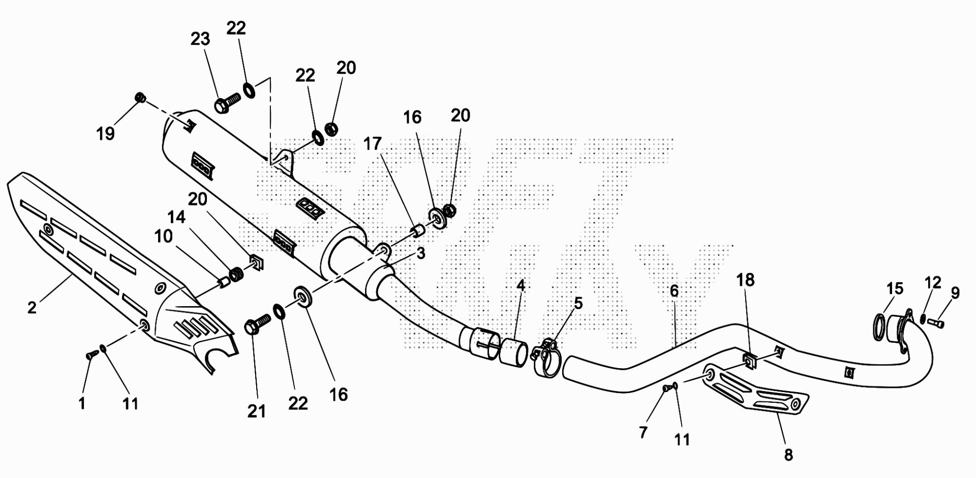
7 31.30470.000 VITE TBCE 6.14 INOX 1,11 € 1

2 25.98933.014 PROTEZ.MARMITTA ALP4/M4-GRIGIO ACRILICO- 50,70 € 1

4 16.80813.000 GUARNIZIONE 20,81 € 1

5 15.14255.000 FASCETTA D40-D43 30,18 € 1

6 018.37.000.00.00 COLLETTORE SCARICO 155,20 € 1

8 25.98917.014 PROTEZ. TUBO SC.ALP4/M4-GRIGIO ACRILICO- 32,49 € 1

9 31.63900.000 VITE BRUGOLA TCCE 8.25 Z.B. 6,43 € 1

10 13.48858.000 DISTANZIALE PER SILENT-BLOCK 0,81 € 1

11 16.47491.000 GUARNIZIONE SPECIALE 6X13 SP.1,8 0,85 € 1

12 27.48000.000 RONDELLA 8 GROWER 0,21 € 1

14 28.91880.000 SILENT-BLOCK CAREN. MARMITTA 1,24 € 1

15 16.80230.000 GUARNIZIONE SCARICO CRUISER 7,21 € 1

16 13.48866.000 DISTANZIALE 3,68 € 1

17 28.91953.000 SILENT-BLOCK MARMITTA ALP4-M4 6,41 € 1

18 25.60311.000 PIASTRINA PER VITE M6 1,11 € 1

19 16.33781.000 GOMMINO PROTEZ.FIANCATINE RR(RES.CALORE) 1,56 € 1

20 13.17020.000 DADO AUTOBLOCCANTE 8 BASSO 0,85 € 1

21 11.55470.000 BULLONE 8.35 PF CH RS 0,90 € 1

22 27.49500.000 RONDELLA 8.16 0,31 € 1

23 11.54492.000 BULLONE 8.20 RS CH LISCIO 0,76 € 1

To see all drawing, select a model
Product added to wishlist