Cerca per moto

  • Nuovo
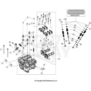
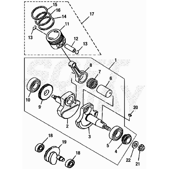
DADO FLANGIATO ALBERO MOTORE 125CC 4T
BETA

DADO FLANGIATO ALBERO MOTORE 125CC 4T

4,81 €
Tasse incluse

Prodotti originali
Team di esperti
Assistenza garantita

Dettagli del prodotto

34.04128.200
50 Articoli
Compatibile con:
Product added to wishlist